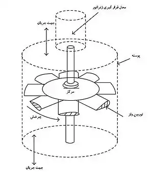
توربین ولز
توربین ولز گونهای توربین کمفشار است که به رغم تغییر جهت سیال فقط به یک سمت میچرخد. این دستگاه ساده اما هوشمندانه توسط پروفسور آلن آرتور ولز در اواخر ۱۹۷۰ میلادی ساخته شد.

توربین ولز
خاصیت این توربین به خاطر شکل متقارن پرههای آن است که از ویژگی ماهیواره بال هواپیما استفاده میکند که از هر سمت که سیال با پرههای آن برخورد کند پرهها به یک سمت میچرخند.
این توربین در ستونهای آب برای تولید برق از انرژی امواج دریا یا انرژی جزر و مد به کار میرود، سطح آب دریا در ستون آب به صورت نوسانی بالا و پایین میشود و مکش و دمش ایجاد میکند که این توربین هم چنان به یک سمت میچرخد.
بازده توربین ولز نسبت به توربینهای ثابت با جریان یک طرفه و ماهیواره نامتقارن کمتر است.
جستارهای وابسته
منابع
| در ویکیانبار پروندههایی دربارهٔ Wells turbines موجود است. |
- مشارکتکنندگان ویکیپدیا. «Wells turbine». در دانشنامهٔ ویکیپدیای انگلیسی، بازبینیشده در ۲ آوریل ۲۰۱۴.
This article is issued from Wikipedia. The text is licensed under Creative Commons - Attribution - Sharealike. Additional terms may apply for the media files.