پیرابین
پیرابین یا پریسکوپ (به فرانسوی: Périscope) ابزاری است برای دیدن اشیائی که بالاتر از سطح چشم بینندهاند (برای نمونه در زیردریایی) یا بگونهای قرار دارند که دیدن مستقیم آنها میسر نیست. این ابزار تشکیل یافتهاست از یک لوله دراز، که در هر یک از دو سر آن منشوری راستگوشه چنان قرار داده شدهاست که نور در اثر تابش کلی درونی از روی وجه بزرگتر آنها با زاویه ۹۰c در هر منشور منحرف میشود، بنابراین نور از شیئی مورد نظر در راستای موازی با راستای اولیه (تابش از) شیئی ولی پائینتر وارد چشم ناظر میشود.

Principle of the periscope.
A - Periscope using two plane mirrors.
B - Periscope using two right–angled prisms.
1 - 2 - Plane mirrors.
3 - 4 - Right–angled prisms.
5 - 6 - Observer eye.
7 - 8 - Periscope tube.
H - Periscope optical height.
A - Periscope using two plane mirrors.
B - Periscope using two right–angled prisms.
1 - 2 - Plane mirrors.
3 - 4 - Right–angled prisms.
5 - 6 - Observer eye.
7 - 8 - Periscope tube.
H - Periscope optical height.

Principle of the lens periscope.
A - Periscope using a single lens (L2) to correct image.B - Periscope which uses two lenses (L2-L3) to correct image.1-3 - Periscope window.2-4 - Field stop or reticle.P - Right–angled prisms (or plane mirrors).L1 - Objective lens.L2 - for A - L2 - L3 - for B - Image erecting lens.L3 - L4 -for A - L4-L5- for B - Eyepiece.L0 - Field lens.y - Distant object.H - Periscope optical height.

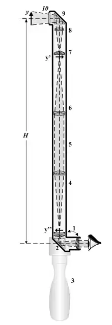
Military handheld periscope optical
design.
۱ - Eyepiece
۲ - Diagonal prism
۳ - Handle
۴–۶ - Erecting lenses
۵ - Periscope tube
۷ - Field lens
۸ - Lens
۹ - Head diagonal prism
۱۰ - Window
۱ - Eyepiece
۲ - Diagonal prism
۳ - Handle
۴–۶ - Erecting lenses
۵ - Periscope tube
۷ - Field lens
۸ - Lens
۹ - Head diagonal prism
۱۰ - Window
پیرابین در امور نظامی مانند دیدهبانی و همچنین در زیردریاییها، خودروهای زرهی و تانکها نیز بهکار میرود. این وسیله برای اولین بار در سال ۱۹۰۲ توسط سایمون لیک اختراع شدهاست.
جستارهای وابسته
This article is issued from Wikipedia. The text is licensed under Creative Commons - Attribution - Sharealike. Additional terms may apply for the media files.