چیپست
چیپست یا مجموعه تراشه (به انگلیسی: Chipset) مجموعه از قطعات الکترونیکی است که شامل مجموعهای از اجزای الکترونیکی در یک مدار مجتمع است که وظیفهٔ مدیریت جریان دادهها بین پردازنده، حافظه و قسمتهای جانبی را بر عهده دارند. چیپستها را معمولاً به گونهای طراحی میکنند تا با یک خانوادهٔ معین از ریزپردازندهها کار کنند. از آنجایی که چیپست وظیفهٔ کنترل ارتباط بین پردازنده و سخت افزار بیرونی را بر عهده دارد، نقش بسیار مهمی را در تعیین عملکرد سامانه، ایجاد میکند.[1]

در رایانش، عبارت چیپست عموماً برای اشاره به تراشههای ویژهای در مادربرد و یا کارتهای توسعه به کار میرود. در رایانههای شخصی، نخستین چیپستی که برای IBM PC AT به کار رفت نیت چیپست متعلق به چیپس اند تکنالوجیز[و 1] بود که برای اینتل ۸۰۲۸۵ طراحی شده بود.

در رایانههای خانگی، پیشانههای بازی، سختافزار بازیهای آرکید در دههٔ ۱۹۸۰ و ۹۰ میلادی، عبارت چیپست برای تراشههای ضبط و نشر آواها و ارتباط تصویری استفاده میشد. به عنوان نمونه میتوان به چیپست اصلی در کمودور آمیگا یا سیستم ۱۶ در سگا اشاره کرد.
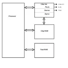
هنگامی که صحبت از ریزپردازندههای کلاس پنتیوم ساختهٔ اینتل باشد، عبارت چیپست اغلب در مورد یک جفت تراشهٔ ویژه در مادربرد به کار میرود: پل شمالی و پل جنوبی.
سازندگان چیپست اغلب از سازندگان مادربرد مستقل هستند. سازندگان کنونی چیپستهای مادربرد با معماری ایکس ۸۶ شامل اینتل، ایامدی، انویدیا، اسآیاس، برادکام و ویآیای میشود. رایانههای اپل و ایستگاههای کاری یونیکس به صورت سنتی از چیپستهایی برای طراحی سفارشی استفاده میکردهاند. برخی از سازندگان کارسازهای رایانهای نیز برای محصولاتشان چیپستهای سفارشی تولید میکنند.
منابع
- Chipsets, Scharon Harding 2019-07-17T15:38:00Z. "What Is a Motherboard Chipset? A Basic Definition". Tom's Hardware. Retrieved 2019-11-15.
- Chips and Technologies